安徽汇民防爆电气有限公司联系方式

行业动态

安徽汇民防爆电气 | 防爆电气设备浇注系统

文字:[大][中][小] 手机页面二维码 2022/8/16     浏览次数:    

  1.防爆电气设备浇注系统

防爆电气设备浇筑系统是指正确引导浇筑金属液添充凹模和浇口但在铸表层设量的一系列通道。它包括浇口杯(盆)、直浇道、横浇道和内浇道,依照JB/T2435--2013《铸造工艺符号及表示方法》的规定。

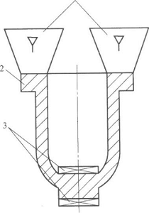
  1-浇口杯(盆) 2-直浇道 3-横浇道 4-内浇道

  在图2中,1为浇口杯(盆),又称外浇口,要在直灌溉顶都用以承揽和引导浇筑金属液的器皿,常呈杯状或盆状,可以缓解浇筑金属液对金属型铸的冲击和阻止一部分熔渣残渣进到直浇道;2为直浇道,是防爆电气设备浇注系统里的竖直通道,一般截面为环形并带有一定的光洁度,可调节浇筑金属液进到凹模的速度与缓解浇筑金属液对塑腔的冲击;3为横浇道,是防爆电气设备浇注系统中的水平通道,截面样子常选用梯状、环形或半圆型,能将浇筑金属液分流到各个内进浇口,能够把熔渣残渣挡以内绕口外;4为内浇道,是防爆电气设备浇注系统中引导浇筑金属液进到凹槽的那一部分通道,其截面样子有平扁梯状、三角形和半圆型等,可以控制浇筑金属液注入金属型铸速度和方向,及其防爆电气设备铸造件的冷却速度和凝结方法。

  2.浇口和直浇道

  在铸造工艺设计时,除科学地设计防爆电气设备浇注系统外,人们常常在防爆电气设备铸造件的结实位置依照次序凝固标准设定浇口,在防爆电气设备铸造件厚度的薄厚交接位置依照与此同时凝固标准设定直浇道。

  (1)浇口

  大伙儿已经知道,防爆电气设备浇注系统设定浇口还可以在防爆电气设备铸件凝固环节中开展补缩,还能够排气和集渣。在防爆电气设备铸造件制冷环节中,防爆电气设备铸造件结实一部分很容易出现所谓缩松和缩孔,浇口储存的浇筑金属液添充金属型铸后便将这种缩松和缩孔推至浇口。防爆电气设备铸造件落砂后,冒口l将会被清除去除,因此这种缩松和缩孔便被消除,于是就可以确保防爆电气设备铸造件的品质。

  因此,浇口设定的部位,一般依据可能出现缩松和缩孔位置来确定,但是不要设置在防爆电气设备铸造件关键的部位或承受力比较大的部位;总数应该根据防爆电气设备铸造件的构造和规格来确定。

  (2)冷铁

  1-浇口2-防爆电气设备铸造件3-(外)冷铁

  冷铁是一种可以增加防爆电气设备铸造件局部的凝结速率、在砂模和(或)砂芯表层或型腔中设定的金属材料体。它能够加速防爆电气设备铸造件局部的凝结速率,完成与此同时凝固。

  依据放置部位,直浇道分成外冷铁和内冷铁,安放在防爆电气设备铸造件外部的为外冷铁,安放在防爆电气设备铸造件的内部为内冷铁。冷铁一般放置于零件的厚、薄壁相接处厚的一边,那样就可以实现厚、薄壁一部分与此同时凝固。

  冷铁的尺寸比例和设定总数应该根据防爆电气设备铸造件构造、样子、规格、热节和铸造合金类型等多种因素来充分考虑明确。外冷铁厚度不可过薄,过薄时可能与防爆电气设备铸造件溶接在一起;外冷铁也不要太厚,过厚时容易造成防爆电气设备铸造件发生裂痕。

  一般来说,冷铁由生铁或碳素钢做成;特别是内冷铁,一般用和铸造合金相同或相近的材料制做。

  总的来说,人们就可以根据这些内容、防爆电气设备铸造件的构造和尺寸及其本企业实际情况来制作铸造工艺图和制定有关工艺文件,具体指导防爆电气设备铸造件的生产。

返回上一步
打印此页
199-5521-9626
浏览手机站
微信二维码